Xmanager是一款可以在Windows系统上远程连接Linux服务器并使用图形界面的软件。它可以让用户在Windows环境下方便地运行Linux应用程序,提高工作效率和便利性。但是,有时候,用户可能会遇到一些问题,比如Xmanager调不出图形界面,或者Xmanager打开图形界面后不知道怎么退出。
Xmanager调不出图形界面的原因可能有以下几种:
1、Linux服务器没有安装或启动X Window系统
X Window系统是Linux系统的图形界面系统,如果没有安装或启动,那么Xmanager就无法连接并显示图形界面。
解决方法是在Linux服务器上安装或启动X Window系统。
图1:安装X Window系统
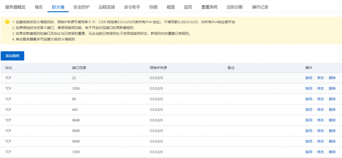
2、Linux服务器的防火墙或安全策略阻止了Xmanager的连接
Xmanager需要使用TCP端口3389来传输图形界面的数据,如果Linux服务器的防火墙或安全策略禁止了这些端口的访问,那么Xmanager就无法连接并显示图形界面。
解决方法是在Linux服务器上配置防火墙或安全策略,允许Xmanager的连接。
图2:防火墙
3、Xmanager的配置或设置有误
Xmanager有一些配置或设置选项,比如服务器地址、登录方式、会话类型等,如果填写错误或不合适,那么Xmanager就无法连接并显示图形界面。
解决方法是检查并修改Xmanager的配置或设置,确保正确并适合你的需求。
图3:Xmanager远程连接
Xmanager打开图形界面后怎么退出?
Xmanager打开图形界面后,有两种退出方式:
1、退出当前单个图形界面,但保持其他连接
如果你只需要断当前连接,但是保持其他连接,你可以点击标签后方的叉号来关闭单个连接。关闭该标签只会断开当前连接,并不影响其他连接的正常使用。
图4:关闭当前对话
2、退出图形界面,并断开所有远程连接
这种方式适合你已经完成了所有的工作,不再需要使用图形界面和远程连接。你可以直接点击Xmanager的窗口,来断开所有连接。在关闭之前,Xmanager会提醒你当前连接了几个主机,你可以点击“确定”来关闭全部连接。
图5:关闭所有主机








